Login
Loading...
- 博客更换系统之halo
再见Typecho,你好 Halo!
如标题所见,我博客搬家了~
从18年开始真正搭建一个属于自己的博客时,就用过圈子里用的比较多的wordpress、emlog、typecho等,这三者相比较
我个人会比较喜欢typecho,个人博客,就需要轻量化嘛,用着也舒服
emlog也是挺不错的,但是好像用他搭建资源网的会更多一点,一直没能抽空研究
以上两个都是国产的,wordpress可能就比较偏国际化?用的人就比较多,但是给我的体验并不是特别好,后台界面越看越不舒服,杂乱无章,国内加载也是慢的一批
随后就是去年开始接触到halo,第一眼看到的时候就比较爱了,本来那时候就打算搬家的,无奈复习原因(是也不是),总之就是鸽了好久,前段时间我参加了高职单招,提前获得了进入大学的资格(大专人),距离开学还有两三个月,本来打算出去打工挣学费,因为疫情,我妈死活不让我出去外省,让我再等等,无法,就继续家里蹲呗,也总算是有时间好好折腾下halo了
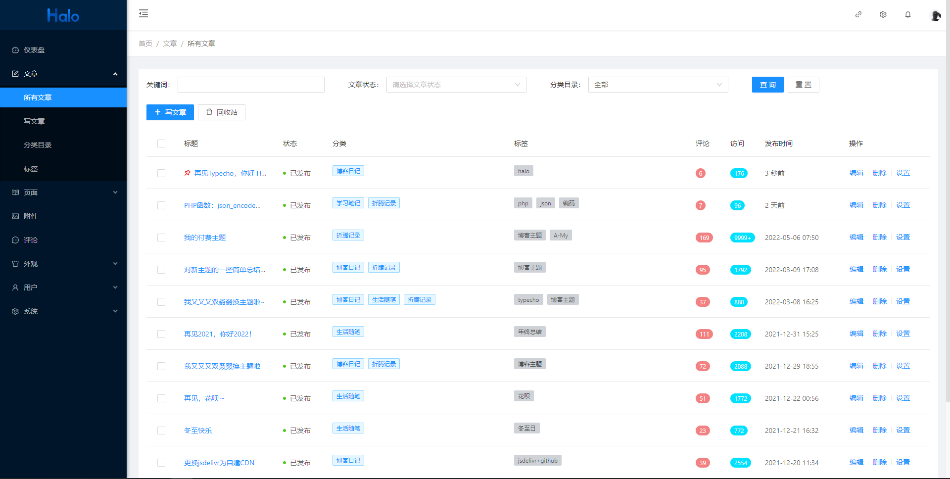
首先就得把我数据先移植过来,我之前了解到的公子哥 typecho评论数据导成json文件的插件,正好halo支持导入json数据文件,无非就是改改相应的数据库字段,研究了两天,终于在昨天晚上搞的差不多了,测试也挺成功,今天早上又修复了一些问题,基本上也不会有啥改动了
后台截图:


之前的闲言碎语也全部转移过来了~

数据转移ok了,接下来就是主题,halo的主题相比较来比较少,我又比较喜欢个性化,不太喜欢跟别人用一样的主题,所以看上的基本上就没多少,只能暂时用着默认主题,这两天研究下halo的主题开发结构,贡献一款我的第一个halo主题~
敬请期待吧~
halo官网:halo.run
typecho转halo插件
https://github.com/iRoZhi/Typecho2Halo
该文由Halo编辑发布~
旧版入口:https://blog.rz.sb/